米兰·网站

米兰·网站 行业资讯 政策法规 产业市场 节能技术 能源信息 宏观环境 会议会展 活动图库 资料下载 焦点专题 智囊团 企业库
节能技术  中国节能产业网 >> 节能技术 >> 节能案例 >> 正文
大型高参数板壳式换热技术
来源:中国节能产业网 时间:2015-5-25 16:29:26 用手机浏览

一、技术名称:大型高参数板壳式换热技术

二、技术所属领域及适用范围:石化行业

三、与该技术相关的能耗及碳排放现状

目前,以波纹板片作为传热元件的热交换设备代表了换热设备的发展主流方向,愈来愈多的管壳式换热器将被板式换热器或板壳式换热器所替代。现有的板壳式换热 器,其板束中截面较大的结构件与较薄的波纹板片传热件之间存在较大的热容差,温度响 应速度不一致,由于温度波动大,将产生较大的热膨胀差,因此,在操作时升降温速度必 须严格限制。如果非正常开停车,极容易造成设备损坏,这种缺陷影响了热交换与热回收 设备运行的可靠性,限制了板壳式换热器的使用范围。以80万t/a连续重整装置进料换热 器为例:单台设备回收热负荷达3.29×107kcal/h,传统管壳式换热技术已无法胜任。目前该 技术可实现节能量38万tce/a,CO2减排约100万t/a。

四、技术内容

1.技术原理

采用波纹板片作为传热元件,全焊接式板束装于压力壳内。波纹板片能在较低的雷诺数下形成湍流,且污垢系数低,传热效率为管壳式换热器的2-3倍。

2.关键技术

专用板型;板束进料分配器;大尺寸板片成型;板束焊接;热膨胀结构。

3.工艺流程

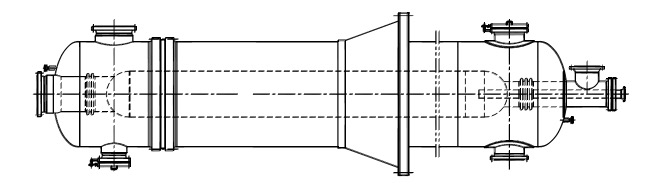
在重整、芳烃、乙烯等装置中,高温反应出料与低温反应进料在进料换热器中换热,从而达到回收大量反应热及节能的目的。换热器原理图及工艺流程图见图1、图2。

图1 板壳式换热器原理图

图2 板壳式换热器工艺流程图

五、主要技术指标

操作压差≤1.6MPa,设备总压降≤71kPa;操作温度≤550℃;单台面积50-10000m2。

六、技术鉴定、获奖情况及应用现状

3000m2 大型板壳式换热器于2003 年通过专家技术鉴定,鉴定结论达到国际先进水平。5000m2 以上级的超大型板壳式换热器计划于2009 年通过鉴定。板壳式换热器已应用于乌鲁木齐石化、华北石化、抚顺石化、锦西石化、金陵石化、福建炼化、上海石化、和邦化学有限责任公司等多家石化企业,并外销国际市场。目前已累计实现产量15 万m2。

七、典型应用案例

典型案例1:乌鲁木齐石化公司

建设规模:40万t/a催化重整装置。主要改造内容:以大型板壳式换热器替代原管壳式换热器。节能技改投资440万元,建设期3个月。按换热器热负荷1.85×107kcal/h时计算,每年可节能21208tce。与同工位管壳式换热器相比,年均可节约燃料油688t、加热炉操作费用34万元、后端空冷器用电量52.6MWh,折合1000tce,投资回收期约2.5年。

典型案例2:上海高桥石化公司

建设规模:80万t/a连续重整装置。主要改造内容:以超大型板壳式换热器替代原管壳式换热器。节能技改投资额1150万元,建设期3个月。与同工况管壳式换热器相比,年均可节约燃料油2036t,折合2900tce,投资回收期约2年。

八、推广前景及节能减排潜力

近年来,随着国家节能减排政策的日趋严格,迫切需要推出新型高效换热器以满足节能增效及装置大型化的要求。在炼油化工中乙烯、重整、芳烃等装置上,传统管式换热器已无法满足要求,须全部采用板式进出料换热器。与管壳式换热器相比,该技术可将传热效率提高2-3倍,多回收3%-5%的热量,节省操作费用30%-50%。应用该技术生产的国产板壳式换热器可摆脱同工位换热器对进口的依赖。板壳式换热器还可广泛应用于冶金、电力、航天、轻工食品、交通运输、城市建设等领域的热交换场合,市场前景巨大。预计未来5年,该技术在行业内的推广潜力可达到80%,预计投资总额30亿元,年节能能力75万tce/a,减排能力198万tCO2/a。


分享到:
米兰·网站相关的文章 iTAG:
没有相关技术
频道推荐
服务中心
微信公众号

CESI
关于本站
版权声明
广告投放
网站帮助
米兰·网站-米兰MiLan(中国)
网站服务
会员服务
最新项目
资金服务
园区招商
展会合作
中国节能产业网是以互联网+节能为核心构建的线上线下相结合的一站式节能服务平台。
©2007-2016 CHINA-ESI.COM
鄂ICP备16002099号
节能QQ群:39847109
顶部微信二维码底部
扫描二维码关注官方公众微信